Firmenprofil
Thermometer
Druck
Differenzdruck

Industriefilter
Feuchte
Gaswarngeräte
Füllstand Flüssigkeiten

Füllstand Schüttgüter
Wägetechnik
Druckluftverbrauchsmessung
Impressum
AGB
HomeHome
 

FLEXINIVO® FN6



Flexibles Kombigerät zur Grenzstanderfassung und Füllstandmessung






Produktübersicht


Datenblatt


Applikationen


Siehe auch



Beschreibung


Das Multifunktionssystem zur flexiblen Grenzstanderfassung in volumetrischen Dosierungen sowie zur Detektierung flexibler Füllstände in nahezu allen Schüttgütern – sehr präzise, speziell für den Einsatz in schwierigen Medien.


Einsatz


Der Flexinivo FN6 wird in seiner Funktion als Chargenkontrolle zur Grenzstanderfassung bei flexiblen Füllstandhöhen eingesetzt; als Füllstandmessung kann er Messdistanzen bis 4,40m abdecken. Die Signalauswertung und die Steuerung der Höhenverstellung erfolgt extern über SPS



Steckbrief


-

Realisierung beliebiger Schaltpunkte durch flexible Höhenverstellung

-

Reduzierung des manuellen Aufwandes

-

Unabhängig von Schüttguteigenschaften wie Leitfähigkeit, Staub, Dielektrizität




Grundgerät




FN6




Flexibel steuerbare Messpunktverschiebung (I/O)

Input:
-Messposition (Motosteuerung)
-Ablaufgeschwindigkeit

Output:
-Positionsangabe (Ablauflänge)
-Grenzstandmeldung Füllhöhe
-Obere Endlage





Innenansicht




Elektronik


Mechanik


Ablauferfassung über Inkrementalgeber

Solider mechanischer Aufbau


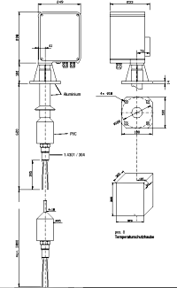
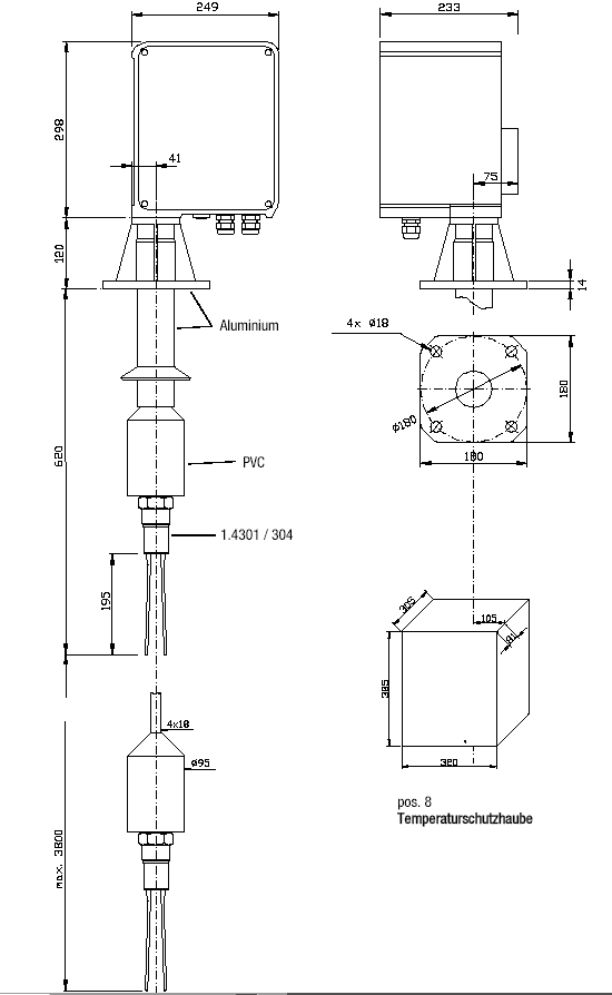
Zeichnungen




FN6


FN6


Einbaumöglichkeit

Massblatt